In this day and age, many people have experienced a texting-only relationship. If you're in a texting-only relationship right now, you may have a lot of questions. Luckily, this article has got you covered! Read on to learn more about what this type of re...
Kriti Sanon will soon be essaying the role of Sita in Om Raut's Adipurush, which has South superstar Prabhas playing the part of Lord Rama.
Justice Rekha Palli took on record the statement made by government counsel Naushad Khan on a petition filed by Delhi Wellness Spa Association for re-opening of spas.
Here are the top stories today: Coronavirus News Live Updates: 20 Dead in Delhi Hospital After Oxygen Supply Delay, Max Gurugram Says Less Than 2 Hours of Oxygen Left;US Allows Johnson & Johnson Covid Vaccinations To Resume Despite Fears of Clotting; With...
The death toll rose to 10,335 after four more people two each in Kolkata and Howrah succumbed to the disease, it said.
Scientists in the U.S. and Canada are opening new fronts in the war against socalled murder hornets as the giant insects begin establishing nests this spring.
Microsoft Corp's failure to fix known problems with its cloud software facilitated the massive SolarWinds hack that compromised at least nine federal government agencies, according to security experts and the office of U.S. Senator Ron Wyden.
The team of experts arrived at Huanan on Sunday afternoon amid a heavy security presence, with additional barricades set up outside a high blue fence surrounding the market.
Andy Flower sees no reason why England can't beat India as he believes the visitors have enough "formidable players" to challenge the upbeat hosts.
Saif Ali Khan seemed upset at being caught unawares by the paparazzi while getting off his car with his son Taimur at his building.
Salman Khan shares with fans an easy-to-prepare and hassle-free pickle recipe that we think is a must try.
Krantikari Kisan Union President Dharampal said their focus has been "only on boycotting and nothing else."
The ruling party legislator said these media outlets published/aired the false news based on a "tweet" by actress Kangana Ranaut. Patole said appropriate action would be taken in the matter.
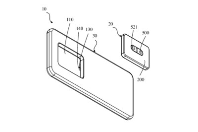
The detachable camera module may include Bluetooth and Wi-Fi support as well as an inbuilt battery to transform the device into an independent camera accessory.
Hollywood star Vince Vaughan says that he is actively discussing a sequel to his classic romantic comedy "Wedding Crashers" with his co-star Owen Wilson. Vaughan and Wilson had starred in the 2005 film as two divorce mediators whocrashweddings in an att...